[15+] Tecumseh H70 Service Manual, TECUMSEH H50 H60 H70 HH50 HH60 HH70 ENGINE OWNERS MANUAL | EBay

Tecumseh H70 Service Manual Tecumseh Engine 10hp Tiller Troy Pulley Generator H70 Bilt Horse

Ariens tecumseh

Tecumseh model h50-65509r engine genuine parts. H60 tecumseh ignition timing. Parts tecumseh h50 engine diagram replacement searspartsdirect gas number. Polara monaco 1967 dodge manual service

Tecumseh H60 Ignition Timing/C... - Yesterday's Tractors (141968)

Tecumseh H60 Ignition Timing/C... - Yesterday's Tractors (141968)

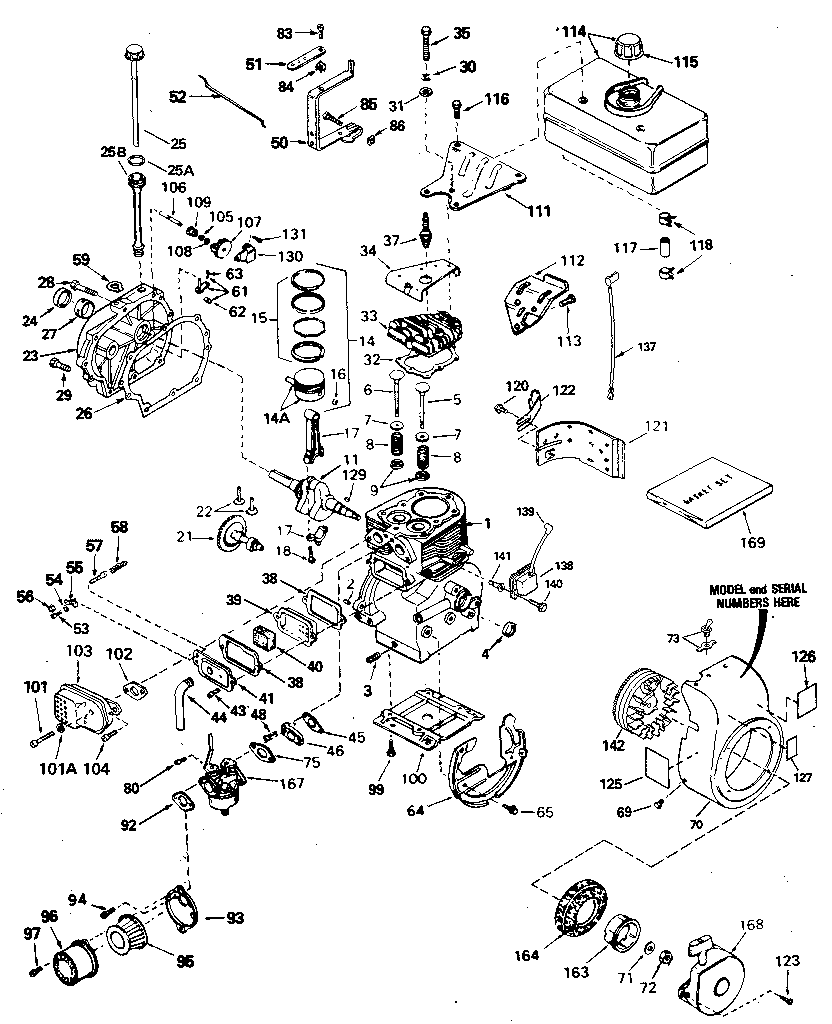
Tecumseh model H50-65509R engine genuine parts

Tecumseh model H50-65509R engine genuine parts

Toro 31625 (524) - Toro Snow Thrower (SN: 005000001 - 005999999) (1975) Parts Lookup with

Toro 31625 (524) - Toro Snow Thrower (SN: 005000001 - 005999999) (1975) Parts Lookup with

Toro 38050 724 Snowblower Parts Catalog, 1979

Toro 38050 724 Snowblower Parts Catalog, 1979

Bestseller: Tecumseh Engines Parts Manual

Bestseller: Tecumseh Engines Parts Manual

Comments

Popular posts from this blog

[6+] 95 Nissan Pickup Radio Wiring Diagram, Nissan Stereo Wiring Diagram | Schematic And Wiring Diagram